
Digital Satellite Terminal System Revision 1
Block Up Converter MN/DST.IOM
3–5
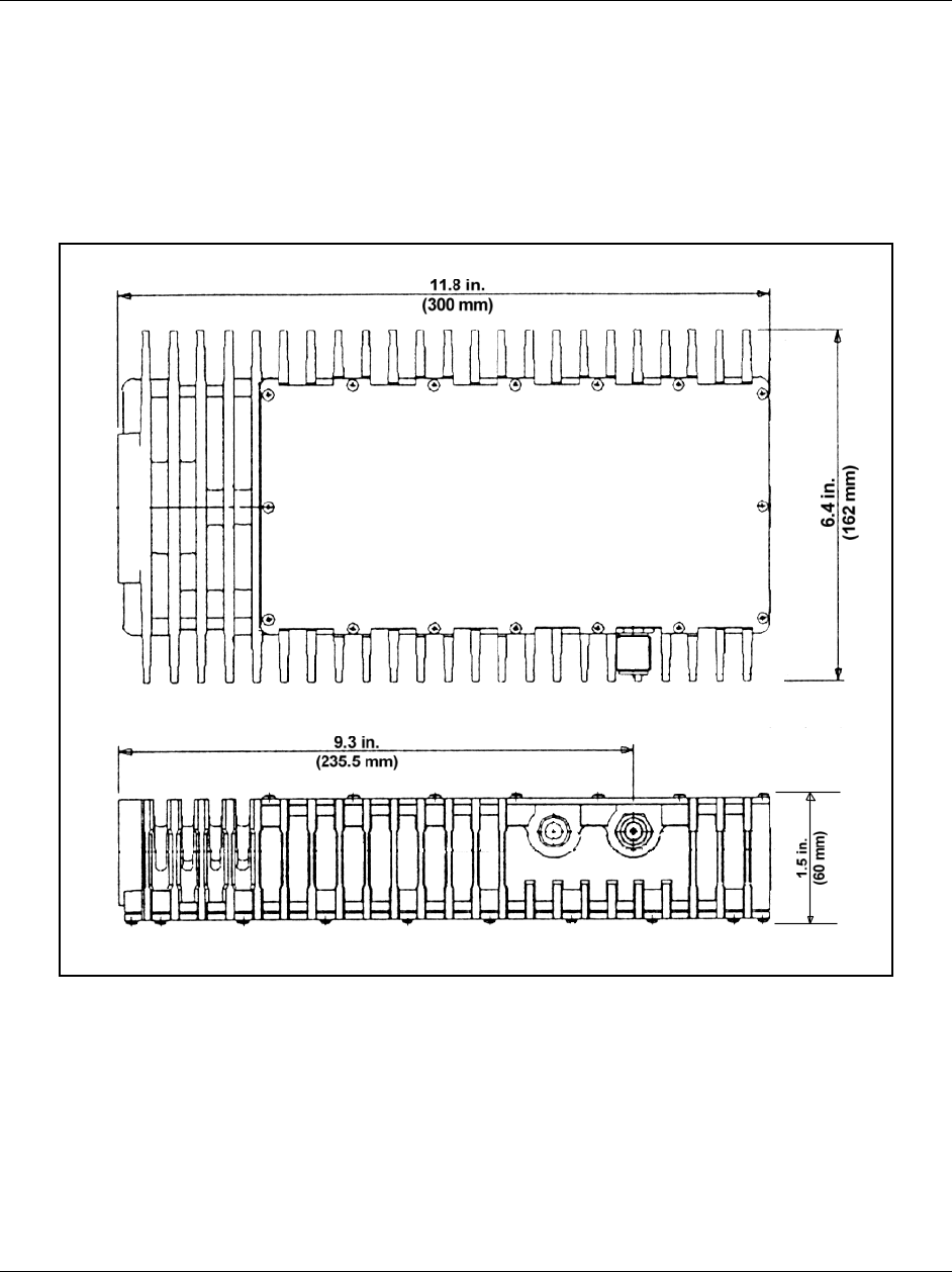
3.3 BUC Envelope Dimensions and Mounting
Notes:
1. Dimensions are listed in inches and centimeters are in parentheses.
2. This figure is a typical configuration. For specific applications, contact Comtech
EF Data, Customer Support department.
Figure 3-1. BUC Envelope
Komentáře k této Příručce